1概述
在自动化错误过程中,需要测量流量以控制生产过程中的工作条件。该流量参数是衡量设备效率和经济核算的重要指标,其测量精度是企业能源管理的重要手段。差压流量计是工业上使用的流量计之一。其测量精度取决于其测量原理,结构,制造工艺水平,被测流体性质和使用条件。
2.孔板流量计的组成和工作原理
2.1组成
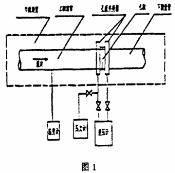
孔板流量计的结构如图1所示。有节流装置,压差表(通常为差压变送器),压力表,温度计,压力感应导管和流量显示记录器。


孔板流量计交界处组成图孔板流量计工作原理图
2.2工作原理
如图2所示,只要获得压力,温度和压差,就可以根据一定的数学关系来计算流量。

孔板流量计安装
3.1节流元件的安装(标准孔板)
油门前后的直线部分必须平直,不能用肉眼弯曲。在节流件需要足够长的直管段之前和之后,根据国际GBT2624-2006,使用安装在圆形截面管中的差压装置来测量满管的流体流量要求应该是合理的。但是,在实际工程中,人们经常按照第一台10D和5D进行安装。
3.2压力管道的安装
尽量远离压力管安装一段短距离,一般应小于16m。如果要测量的介质是气体,则压力端口应设置在水平线上45°的位置,以便冷凝液流入导压管。对于高粘度或腐蚀性介质,必须安装隔离器以通过隔离液将差压信号传输到变送器。对于液体介质,气体收集器应安装在压力管道的最高点。
3.3差压变送器的安装
在取压点取直管段,每边大于5D(管径)。在对蒸汽管道施加压力时,应将压力管道安装在管道的一侧。平衡罐应安装在压力管道的最高点。污水管应安装在靠近变送器的压力管接口处。压力点与变送器之间的距离应大于1米,即变送器的安装位置应该低于压力点。
4.分析使用孔板流量计时的测量误差
在孔板流量计的实际应用中,如果使用不当,会增加测量误差,有时高达10%左右。如何减少测量误差需要合理的选择,精确的设计计算和制造,并且应该更加注意正确的安装,维护和使用条件,以确保孔板流量计具有足够的实际测量精度。以下分析其测量误差。
1.流量计算公式描述了流态的真实性的不确定性,脉动流量,多相流量,涡街流量,非对称流量等不符合标准规定。如果流量仍按照原始仪器常数计算,这将是实用的。如果流量有误差,可以根据相关的计算公式进行修正或重新计算。
2.测量设备(如主元件,二次仪表,计算输出设备等)在满足标准技术要求的前提下,由于每个设备本身的不确定性和环境条件。
孔板安装不正确。当安装孔板的中心时,孔的中心与管道的中心线不一致,这可能会导致测量误差。压力管和垫圈堵塞等突起也是导致错误的原因。
孔口的入口边缘已磨损。虽然标准孔板已经在国际标准ISO5167和中国国家标准GB2624中列出,但它在结构上本质上很薄弱并且在实际使用中不耐用。孔板的使用寿命可以达到10年或更长,但是在安装投入运行后只有4到5个月,入口边缘的锐度开始被破坏。在使用中,由于流体的磨蚀作用,特别是对于高压或高流速的含有流体的颗粒,高温蒸汽等,其入口边缘将更快地变钝,并被研磨成圆形入口边缘。结果,在相同的流量下,节流孔后的流体的收缩程度减小,差压不断减小,并且形成日益增大的负流量误差。在进口磨损之后,孔板出口处的小流量横截面积增加。如果在这种条件下进行校准,自然会发现孔板的流出系数增加了,但仍然按照标准公式使用。系数越小,所以会有越来越多的负面系统错误。孔板的结垢和流动横截面积发生变化。由于孔板流量计由节流部件组成,长时间使用时,污物会积聚在节流孔的上游,导致差压信号不准确,直接影响测量精度。孔口的脏污和钝化可能导致2至10%的测量偏差。如果待测介质变脏(包括焦油),孔板前后压力环腔被堵塞,压力端口压力变化或无压力差,流量计不能正常工作,导致大测量误差或无流量显示。
(3)被测介质实际特性的不确定性,如成分变化和采样,分析误差,实际物理性质变化等,影响仪器的正常运行等,影响流量值的不确定度。
(4)变送器零点漂移和量程设置不当也会导致测量误差。由于时间太长,变送器的零点会漂移。如果为负值,变送器的输出电流将小于标准4MA,流量将显示为低。如果漂移为正值,则变送器的输出电流将大于标准4MA。显示很高。如果范围设置为较大值,则流量显示为低,范围设置较小,流量显示较高。
5.结论
在中国长距离集输管道工程实践中,孔板流量特别是高级节流阀早已占据主导地位。 客观地说,在使用孔板流量计测量流量时,孔板流量计需要一次性装置(节流孔节流装置)和二次仪表(差压,静压,温度,被测介质性质等)的选择, 设计,安装和使用必须与安装标准严格相关,加上不定期的维护和检查,以确保流量计的测量精度。
本文孔板流量计,由金湖县华升计量仪器有限公司为您提供,转载请注明出处!!
